Vyberte místo pro doručení

Výběr stránky země/oblasti může mít vliv na různé faktory, jako jsou cena, možnosti dopravy a dostupnost produktu.
Moje kontaktní osoba
HENNLICH s.r.o.

Českolipská 9

Litoměřice 412 01

+420 416 711 333
CZ(CS)

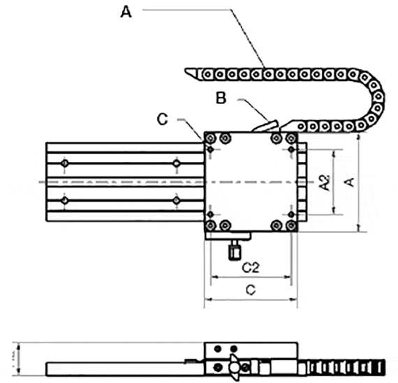
drylin® WKMEX-10-80: měřicí systém připravený k montáži

A = energetický řetěz 045.10.028.0, není součástí zboží
B = signální kabely
C = K2
Odměřovací systém drylin® WKMEX vyžaduje velmi malý instalační prostor. Hlava senzoru je zabudována do vozíku o výšce pouze 36 mm. Existují tři možnosti senzorů, z nichž dvě jsou kompatibilní s linkovým budičem TTL. Pro vedení signálního kabelu se doporučuje energetický řetěz společnosti igus® e-chain® 045.10.028.0. Pro čísla dílů s konkrétní délkou viz:
System E2 micro
System easychain®

Systém pro výstup externích dat připravený k nainstalování

Snímání 4 sestupných (náběžných) hran (nastavení parametrů displeje nebo řídícího systému, například IW4) a teplota okolí +20°C; rozlišení: +-( 0,025 + 0,02 L) L = délka měření v metrech; opakovatelnost: +- 0,025 mm

Snímání 1 sestupných (náběžných) hran (nastavení parametrů displeje nebo řídícího systému, například IW1) a teplota okolí +20°C; rozlišení: +-( 0,1 + 0,02 L) L = délka měření v metrech; opakovatelnost: +- 0,025 mm

Malý senzor s integrovanou vyhodnocovací elektronikou

Výstupní signály: trvalý protifázový proud, zkratuvzdorný s obrácenými signály (A. A/, B, B/, Z, Z/)

Dodávaný program měřicího zařízení

Všechny typy A A2 C C2 H2 K2 Rozlišení    
  [mm] [mm] [mm] [mm] [mm] [mm] [mm]    
připraveno k přepravě za 10 pracovních dní WKMEX-10-80-2.5-00-01 107 70 100 87 36 M6 0,1 na požádání Pridat do nákupního košíku
připraveno k přepravě za 10 pracovních dní WKMEX-10-80-2.5-01-01 107 70 100 87 36 M6 0,1 na požádání Pridat do nákupního košíku
připraveno k přepravě za 10 pracovních dní WKMEX-10-80-2.5-11-01 107 70 100 87 36 M6 0,1 na požádání Pridat do nákupního košíku
Více o vybraném díle:
CAD CAD
Žádost o vzorky Žádost o vzorky
PDF PDF
Cenová poptávka Cenová poptávka
myCatalog myCatalog
  Sensor type Nominal voltage Output power max. length of signal cable
  00 10 - 30 V 10 - 30 V 30 m
  01 10 - 30 V 5 V (TTL Line Driver) 50 m
  11 5 V 5 V (TTL Line Driver) 10 m
specifications
Measuring principle Incremental
Repeat accuracy ± 1 increment
Pole division 5 mm
Sensor housing Zinc die cast
Protection class IP67
Operating temperature -10 … +70° C
Max. humidity 95%, non-condensing
Max. speed 4,0 m/s
VDC power supply 5 VDC or 10 to 30 VDC
Current draw 5 VDC: max. 200 mA
10 to 30 VDC: max. 150 mA
Internal evaluation electronics Internal evaluation electronics
Output power 5 V-TTL line driver or 10 to 30 V_HTL
Source tracks A, A‘,B, B‘, Z, Z‘
Max. cable length Max. cable length 5V/5V-TTL = 10 m
10-30V/10-30V = 30 m
10-30V/5V-TTL = 50 m

Max. permissible distance from magnetic tape 2,0 mm
Connection method Open cable ends

Další informace:


připraveno k přepravě za 10 pracovních dní

Termíny "Apiro", "AutoChain", "CFRIP", "chainflex", "chainge", "řetězy pro jeřáby", "ConProtect", "cradle-chain", "CTD", "drygear", "drylin", "dryspin", "dry-tech", "dryway", "easy chain", "e-chain", "e-chain systems", quot;e-ketten", "e-kettensysteme", "e-loop", "energy chain", "energy chain systems", "enjoyneering", "e-skin", "e-spool", "fixflex", "flizz", "i.Cee", "ibow", "igear", "iglidur", "igubal", "igumid", "igus", "igus zlepšuje, co se hýbe", 73quot;igus:", "igusGO", "igutex", "iguverse", "iguversum", "kineKIT", "kopla", "manus", "motion plastics", "motion polymers", "motionary", "plasty pro delší životnost", "print2mold", "Rawbot", "RBTX", "readycable", "readychain", "ReBeL" , "ReCyycle", "reguse", "robolink", "Rohbot", "savfe", "speedigus", "superwise", "take the dryway", "tribofilament", "tribotape", "triflex", "twisterchain", "když se hýbe, igus zlepšuje", "xirodur", "xiros" a "ano" jsou zákonem chráněné ochranné známky společnosti igus® GmbH/kolín nad Rýnem ve Spolkové republice Německo a případně v některých zahraničních zemích. Jedná se o neúplný seznam ochranných známek (např. přihlášky ochranných známek nebo registrované ochranné známky) společnosti igus GmbH nebo přidružených společností igus v Německu, Evropské unii, USA a/nebo jiných zemích či jurisdikcích.

Společnost igus® GmbH upozorňuje na to, že neprodává žádné produkty společností Allen Bradley, B&R, Baumüller, Beckhoff, Lahr, Control Techniques, Danaher Motion, ELAU, FAGOR, FANUC, Festo, Heidenhain, Jetter, Lenze, LinMot, LTi DRiVES, Mitsubishi, NUM, Parker, Bosch Rexroth, SEW, Siemens, Stöber ani žádných jiných výrobců pohonů uvedených na tomto webu. Produkty nabízené společností igus® jsou stejné jako produkty společnosti igus® GmbH